python MongoDB基础
MongoDB 的数据以类似于 JSON 格式的二进制文档存储:
{
name: "Angeladady",
age: 18,
hobbies: ["Steam", "Guitar"]
}
在项目目录中,使用 mongod 命令来启动 mongoDB 进程:
创建完目录之后,直接运行mongod命令即可启动MongoDb服务器。mongod命令默认使用/data/db为 MongoDb 数据库的数据文件目录。如果需要改变数据文件存储目录,需要指定--dbpath参数,例如:
mongod --dbpath /Users/yurongchan/mongodb_data_file
类似的启动配置参数还有:
连接MongoDb服务器:
服务器启动之后,我们启动一个终端连接到 MongoDb 服务器,这样我们就可以运行进行数据库CURD操作。连接MongoDb服务器命令的语法如下:
mongo server_ip:port/dbname -u user -p password
这里直接连接本地服务器,因此直接运行mongo命令即可。
MongoDb创建数据库
MongoDb 创建和切换数据库的语法格式为:
use database_name
如果数据库不存在,则创建数据库,否则切换到指定数据库。
> use chenyurong
switched to db chenyurong
> db
chenyurong
> show dbs
admin 0.000GB
local 0.000GB
上面创建了名为chenyurong的数据库,但是我们使用show dbs命令时并没有看到该数据库存在,这是因为该数据库中还没有数据。要显示它,我们需要向 chenyurong 数据库插入一些数据。
MongoDb创建表
MongoDb 中并没有直接创建表的命令,表的数据结构在你往表插入数据时确定。因此在 MongoDb 中,你创建完数据库之后就可以直接往表中插入数据,表名在插入数据时指定。
常用shell操作
db显示当前所在数据库show dbs列出可用数据库show tablesorshow collections列出数据库中可用集合use <database>用于切换数据库
MongoDb插入数据
MongoDB 使用 insert() 或save()方法向集合中插入文档
db.collection.inserOne()插入单个文档db.collection.inserMany()插入多个文档db.collection.insert()插入单条或多条文档 ```python db.collection.insert()
db.collection.insert(
```python
_id Field
If the document does not specify an _id field, then
MongoDB will add the _id field and assign a unique
ObjectId for the document before inserting. Most
drivers create an ObjectId and insert the _id field,
but the mongod will create and populate the _id if
the driver or application does not.
MongoDb查询数据
db.collection.find()
db.collection.find(query, projection)
返回查询值的列表
query(可选):使用查询操作符指定查询条件。该参数是一个JSON对象,key 一般为查询的列名,value 为查询匹配的值。projection(可选):使用投影操作符指定返回的键。如果省略该参数,那么查询时返回文档中所有键值。该参数是一个JSON对象,key 为需要显示的列名,value 为 1(显示) 或 0(不显示)。_id:默认就是1,没指定返回该字段时,默认会返回,除非设置为0是,就不会返回该字段。
第一个参数为查询条件:
> db.drivers.find() #查找所有文档
{ "_id" : ObjectId("598964bd56b8c69ae1e5f36a"), "name" : "Chen1fa", "age" : 18 }
{ "_id" : ObjectId("598964d456b8c69ae1e5f36b"), "name" : "Xiaose", "age" : 35 }
{ "_id" : 91, "name" : "Sun1feng", "age" : 34 }
> db.drivers.find({name: "Xiaose"}) #查找 name 为 Xiaose 的文档
{ "_id" : ObjectId("598964d456b8c69ae1e5f36b"), "name" : "Xiaose", "age" : 35 }
> db.drivers.find({age:{$gt:20}}) #查找 age 大于 20 的文档
{ "_id" : ObjectId("598964d456b8c69ae1e5f36b"), "name" : "Xiaose", "age" : 35 }
{ "_id" : 91, "name" : "Sun1feng", "age" : 34 }
上述代码中的$gt对应于大于号>的转义。
第二个参数可以传入投影 ,文档映射数据:
> db.drivers.find({age:{$gt:20}},{name:1})
{ "_id" : ObjectId("598964d456b8c69ae1e5f36b"), "name" : "Xiaose" }
{ "_id" : 91, "name" : "Sun1feng" }
如果不 想显示'_id'
db.drivers.find({age:{$gt:20}},{name:1,_id:0})
投影文档中字段为 1 或真值表示包含,0 或假值表示排除,可以设置多个字段为 1 或 0,但不能混合使用。
除此之外,还可以通过 count、skip、limit 等指针(Cursor)方法,改变文档查询的执行方式:
db.drivers.find().count() #统计查询文档数目
3
> db.drivers.find().skip(1).limit(10).sort({age:1})
{ "_id" : 91, "name" : "Sun1feng", "age" : 34 }
{ "_id" : ObjectId("598964d456b8c69ae1e5f36b"), "name" : "Xiaose", "age" : 35 }
上述查找命令跳过 1 个文档,限制输出 10 个,以 name 子段正序排序(大于 0 为正序,小于 0 位反序)输出结果。最后,可以使用 Cursor 方法中的pretty方法,提升查询文档的易读性,特别是在查看嵌套的文档和配置文件的时候:
MongoDB Enterprise > db.test.find().pretty()
{
"_id" : ObjectId("5dc2791643fecd3d34021152"),
"id" : "20170101",
"name" : "Jordan",
"age" : 20,
"gender" : "male"
}
{
"_id" : ObjectId("5dc27af23b8c62878c1061e4"),
"id" : "20170101",
"name" : "Jordan",
"age" : 20,
"gender" : "male"
}
{
"_id" : ObjectId("5dc27af23b8c62878c1061e5"),
"id" : "20170202",
"name" : "Mike",
"age" : 21,
"gender" : "male"
}
查询第一条数据
db.collection.findOne()
范围操作符
范围操作符指的是:大于、大于等于、等于、不等于、小于、小于等于操作符,在 MongoDb 中它们的表示以及使用如下面表格所示:
例如我要查询用户表中所有年龄大于等于25岁的用户,那么查询语句为:
db.user.find({"age": {$gte:25}},{"_id":0}).pretty()
AND操作符
MongoDB 的 find() 方法可以传入多个键(key),每个键(key)以逗号隔开。每个键(key)之间是与的逻辑关系。
{ $and: [ { <expression1> }, { <expression2> } , ... , ]}
例如我要查询用户表(user)中地址为ShenZhen且年龄大于等于25岁的用户,那么查询语句为:
db.user.find({"addr": "ShenZhen","age": {$gte:25}},{"_id":0}).pretty()
OR操作符
MongoDB 中关键字$or表示或逻辑关系,其语法格式如下:
语法:
{ $nor: [ { <expression1> }, { <expression2> }, ... ] }
db.col.find(
{
$or: [
{key1: value1}, {key2:value2}
]
}
).pretty()
例如我要查询用户表(user)中地址为ShenZhen或者年龄大于等于30岁的用户,那么查询语句为:
db.user.find({$or:[{"addr":"ShenZhen"},{"age":{$gte:30}}]}).pretty()
AND操作符和OR操作符可以混合使用,例如要实现以下SQL查询:
select * from user
where name = "ChenYuRong" or (age <= 25 and addr == "JieYang")
那么该 MongoDb 查询语句应该这样写:
db.user.find({$or:[{"name":"ChenYuRong"}, {"age": {$lte:25}, "addr": "JieYang"}]}).pretty()
$in(包含)、$nin(不包含)条件查询
1)$in(包含)条件查询
语法:
{ field: { $in: [<value1>, < value2>, ...] } }
>db.orders.find({"onumber":{$in:["001","002"]}})
查询onumber in("001","002") 条件的文档,就是onumber等于001或者等于002 这个跟$or有点像,不过$or做为条件查询时,可以指定不同的字段: db.orders.find({$or:[{"onumber":"002"},{"cname":"zcy1"}]})
,而$in只针对一个字段。
2)$nin(不包含)条件查询
语法:
{ field: { $nin: [<value1>, < value2>, ...] } }
$not(不等于) 条件查询
语法:
{ field: { $not: { < expression1> } } }
$not操作符不能独立使用,必须跟其他操作条件一起使用(除$regex)
>db.orders.find({"onumber":{$not:{$gt:"002"}}})
查找onumber不等于大于002的文档数据
$exists用来判断一个field是否存在
语法:
{ field: { $ exists: < boolean> } }
>db.orders.find({"age":{$exists:true}})
没有age这个元素,什么都没返回
插入有age元素,在执行一下

对数组根据条件查询
$all、$size、$slice、$elemMatch
s=[
{
'onumber':'008',
'date':'2015-07-08',
'cname':'zcy8',
'books':['java','c','mongo']
},
{
'onumber': '009',
'date': '2015-07-09',
'cname': 'zcy8',
'books': ['java', 'c']
}
]
(1)$all查找数组中包含指定的值的文档
语法:
{ field:{ $all: [ <value> , <value1> ... ]}
db.orders.find({"books":{$all:["java","mongo"]}})
(2)$size 查找数组大小等于指定值的文档
语法:
{field: {$size: number } }
>db.orders.find({"books":{$size:2}})
语法:
>db.collect.find({},{field:{$slice: number }})
number 说明:
为正数表示返回前面指定的值的个数:例如1 返回数组第一个
为负数表示返回倒数指定的值的个数:例如-1返回数组倒数第一个
>db.orders.find({"onumber":{$in:["008","009"]}},{books:{$slice:1}})
$slice可以查询数组中第几个到第几个
语法:
>db.collect.find({},{field:{$slice:[ number1, number2] }})
跳过数组的number1个位置然后返回number2个数
number1说明:
为正数表示跳到指定值的数组个数:例如2 跳到数组第3个
为负数表示跳到指定值的数组倒数个数:例如-2跳到到数组倒数第3个
>db.orders.find({"onumber":{$in:["008","009"]}},{books:{$slice:[1,1]}})
对数组内嵌文档查询
db. orders.insert([
{
"onumber" : "001",
"date" : "2015-07-02",
"cname" : "zcy1",
"items" :[ {
"ino" : "001",
"quantity" :2,
"price" : 4.0
},{
"ino" : "002",
"quantity" : 4,
"price" : 6.0
}
]
},{
"onumber" : "002",
"date" : "2015-07-02",
"cname" : "zcy2",
"items" :[ {
"ino" : "001",
"quantity" :2,
"price" : 4.0
},{
"ino" : "002",
"quantity" :6,
"price" : 6.0
}
]
}
(1)$elemMatch 文档包含有一个元素是数组,那么$elemMatch可以匹配内数组内的元素并返回文档数据
语法:
>{field:{$elemMatch:{ field1:value1, field2:value2,………}}}
>db.orders.find({"items":{$elemMatch:{"quantity":2}}})
返回quantity为2的文档
也可以这样查询db.orders.find({"items.quantity":2})
(2) $elemMatch可以带多个查询条件
>db.orders.find({"items":{$elemMatch:{"quantity":4,"ino":"002"}}})
我们查询数组中的quantity等于4并且ino等于002,但是我们就想返回数组中的quantity等于4并且ino等于002的这个文档,并不想把ino等于001等这些无关的文档返回。
(3)$elemMatch 同样可以用在find方法的第二个参数来限制返回数组内的元素,只返回我们需要的文档
db.orders.find({"onumber":"001"},
{"items":{$elemMatch:{"quantity":4,"ino":"002"}},"cname":1,"date":1,"onumber":1})
我们只返回quantity等于4并且ino等于002的文档,无关的文档没有返回,方便我们处理数据,这样也可以节省传输数据量,减少了内存消耗,提高了性能,在数据大时,性能很明显的。
游标的操作
我们还可以对文档的游标,可以随意修改返回结果的限制、跳跃、和排序顺序的功能。
limitlimit方法是限制游标返回结果的数量,如下面例子:>db.items.find().limit(5)sort()排序 在 MongoDB 中使用使用sort() 方法对数据进行排序,sort() 方法可以通过参数指定排序的字段,并使用 1 和 -1 来指定排序的方式,其中 1 为升序排列,而-1是用于降序排列。 sort()方法基本语法如下所示:db.collection.find().sort({KEY:1})其中
KEY表示要进行排序的字段。 例如我们将所有年龄小于30岁的用户查询出来并将其按照年龄升序排列:db.user.find({"age":{$lt:30}}).sort({age:1}).pretty()我们可以指定多个字段排序,例如我们先按quantity字段降序,然后在按info升序,如下面的例子:
```python
>db.items.find({"ino":{$lt:5}}).sort({"quantity":-1,"info":1})
```
我们查询ino小于5,并对这结果进行排序,按quantity字段降序
我们还可以跟limit()方法进行组合查询并对结果进行排序
```python
>db.items.find().limit(3).sort({"quantity":1})
```
skipskip方法可以跳过指定值的条数,返回剩下的条数的结果,可以跟limit()方法进行组合可以实现分页的效果。db.items.find().skip(10).limit(10)
跳过第10条,从第11条开始返回,只返回10条文档.
skip方法是跳过条数,而且是一条一条的跳过,如果集合比较大时(如书页数很多)skip会越来越慢, 需要更多的处理器(CPU),这会影响性能。
我们可以通过一个键值比较有顺序的来进行分页,这样就避免使用skip方法。>db.items.find({"ino":{$lt:20,$gt:9}}).sort({"info":1})
更新(Update)
MongoDB 提供 updata 方法更新文档:
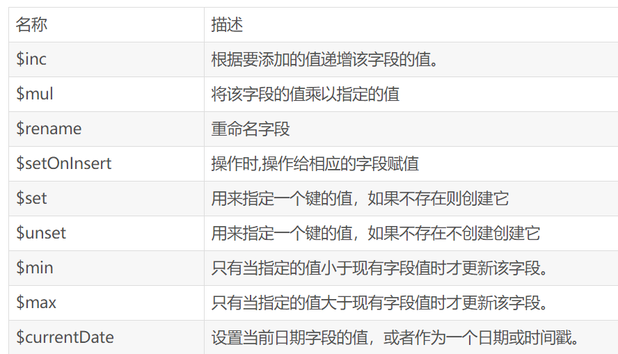
db.collection.updateOne()更新最多一个符合条件的文档db.collection.updateMany()更新所有符合条件的文档db.collection.replaceOne()替代最多一个符合条件的文档db.collection.update()默认更新一个文档,可配置 multi 参数,跟新多个文档
update() 方法用于更新已存在的文档。语法格式如下:
db.collection.update(
<query>,
<update>,
{
upsert: <boolean>,
multi: <boolean>,
writeConcern: <document>
}
)
query:为查询条件update:为修改的文档。- upsert(可选):如果不存在update的记录,是否将其作为记录插入。true为插入,默认是false,不插入。
multi(可选):是否更新多条记录。MongoDb 默认是false,只更新找到的第一条记录。如果这个参数为true,就把按条件查出来多条记录全部更新。writeConcern(可选):表示抛出异常的级别
下面的命令将 name 字段为 Chen1fa 的文档,更新 age 字段为 30:
> db.drivers.update({name:"Chen1fa"},{name:"Chen1fa", age:30})
要注意的是,如果更新文档只传入 age 字段,那么文档会被更新为{age: 30},而不是{name:"Chen1fa", age:30}。要避免文档被覆盖,需要用到$set指令,$set仅替换或添加指定字段:
> db.drivers.update({name:"Chen1fa"},{$set:{age:30}})
如果要在查询的文档不存在的时候插入文档,要把 upsert 参数设置真值:
> db.drivers.update({name:"Alen"},{age:24},{upsert: true})
update 方法默认情况只更新一个文档,如果要更新符合条件的所有文档,要把 multi设为真值,并使用$set 指令:
> db.drivers.update({age:{$gt:25}},{$set:{license:'A'}},{multi: true})
> db.drivers.update({age:{$lt:25}},{$set:{license:'C'}},{multi: true})
如果不想传入multi参数,可以用
db.collection.updateOne()
db.collection.updateMany()
对单个字段进行修改
2) 采用$set来根据查询条件修改文档,用来指定一个键的值,如果不存在则创建它。
> db.orders.update(
{"onumber" : "001"},
{ $set: { "cname " : "zcy"} },
false,
true
)
multi设置为true,全部更新
3) $mul 将该字段的值乘以指定的值
语法:
{ $mul: { field: <number> } }
>db. orders.update(
{"ino" : "001"},
{ $mul: {"quantity" :3} }
)
修改之前:
>db. orders.insert({
"ino" : "001",
"quantity": 2,
"price" : 4.0
}
4)$setOnInsert 操作时,操作给相应的字段赋值
语法:
db.collection.update(
<query>,
{$setOnInsert: { <field1>: <value1>, ... } },
{upsert: true }
)
对数组进行修改
(1)根据查询条件修改文档里内嵌文档(第二层级的),例如我们想修改items 字段ino为001下的price的4修改8,语法items.$. price ,更新数组中第一个匹配的子文档,我们内嵌文档的ino是唯一的,满足我们的需求
>db. orders.update(
{"onumber" : "001","items.ino":"001"},
{ $set: {"items.$.price" : 8.0} }
)
修改前的数据:
修改后的数据:
(2)根据查询条件修改文档里内嵌文档在内嵌文档(第三层级的),例如我们想修改items 字段ino等于001下的products并且pno等于001的pName值为ps,语法items.0. products.$. pName,0代表items第一个数组(也就是数组的下标),$ 更新数组中第一个匹配的子文档。
>db. orders.update(
{"onumber" : "001","items.ino":"001","items.products.pno":"001"},
{ $set: {"items.0.products.$.pName": "ps"} }
)
(3)$pop删除数组的第一个或最后一个项
语法:
{ $pop: { <field>: <-1 | 1>,... } }
1最后一项
-1是第一项
>db. orders.update(
{"onumber" : "001"},
{ $pop: {"items" : -1} }
)
(4)$push将值添加到数组中,如果有的数组存在则向数组末尾添加该值,如果数组不存在则创建该数组并保存该值
语法:
{ $push: { <field1>: <value1>,... } }
>db. orders.update(
{"onumber" : "001"},
{ $push: {"items" : {
"ino" : "002",
"quantity" :2,
"price" : 6.0,
"products" : [
{
"pno":"003",
"pName":"p3"
},
{
"pno":"004",
"pName":"p4"
}
]
}
} }
)
MongoDb删除数据
MongoDB 提供了 delete 方法删除文档:
db.collection.deleteOne()删除最多一个符合条件的文档db.collection.deleteMany()删除所有符合条件的文档db.collection.remove()删除一个或多个文档
MongoDB 聚合Group
关闭实例
关闭 mongoDB 服务:
> use admin
> db.shutdownServer()
使用 exit 或 Ctrl + C 断开连接:
> exit






